Corrente nominal 80A diretamente
Certificado MID
Classe C de alta precisão
Trilho DIN de 35 mm montado
Saída de pulso
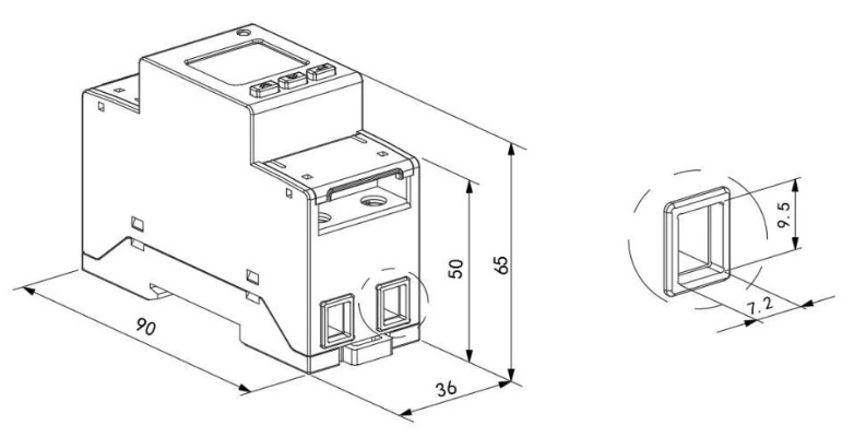
4 Módulos 72mm de Largura
Para gerenciamento de energia IoT, fábrica, escola
Medição monofásica CA
Corrente de entrada direta 80A
Certificado CE-MID
Classe 1 de alta precisão
Instalação em trilho DIN
Comunicação RS485
Aplicação: Gerenciamento de energia IoT, fábrica, escola
+86-18702106858 / +86-21-69156352
O medidor elétrico monofásico ADL200 é um medidor de energia compacto e de alta precisão projetado para sistemas de baixa tensão. Ele mede a energia ativa monofásica e vários parâmetros elétricos, como tensão, corrente, potência e fator de potência. Com um display LCD de 8 bits, oferece leituras claras de energia ativa em kWh positivos e negativos. O medidor possui interface de comunicação RS485 com protocolo MODBUS-RTU, tornando-o ideal para integração em plataformas IoT e sistemas de gerenciamento de energia. Certificado de acordo com os padrões IEC62053-21 e IEC62053-22, garante desempenho confiável e precisão. Sua instalação em trilho DIN e formato pequeno facilitam a implantação em diversas aplicações.
| Parâmetros Técnicos | Valor | |
| Tensão de entrada | Tensão de referência | CA 220 V |
| Frequência de referência | 50Hz | |
| Consumo de energia | <10VA | |
| Corrente de entrada | Corrente Básica | 10A |
| Corrente Máxima | 80A | |
| Iniciando Atual | 4‰ libras | |
| Consumo | <4VA | |
| Desempenho de medição | Precisão de medição | 1 aula |
| Faixa de medição | 000000,00-999999,99 kWh | |
| Precisão do relógio | Erro ≤0,5s/d | |
| Saída | Largura de pulso | 80±20ms |
| Constante de pulso | 1000imp/kWh | |
| Freio de religamento automático | Interface | RS485 (AB-) |
| Modo de conexão | Escudo | |
| ded Condutores de par trançado | ||
| Protocolo | Modbus-RTU | |
| L*W*H | 90*36*65mm | |
| Torque terminal de corrente forte | <1,8Nm | |
Gestão de Eficiência Energética
Solução IoT EMS
Fundada em 2003, Acrel Co., Ltd.【Código de estoque: 300286.SZ】 é uma empresa de alta tecnologia especializada em soluções de gerenciamento de energia e segurança elétrica. Com sede em Xangai, a Acrel oferece soluções inovadoras e sustentáveis para eficiência energética e segurança elétrica de microrredes. Com mais de 600 patentes e direitos autorais de software, a Acrel implantou mais de 28.000 soluções de sistema em todo o mundo, formeo uma arquitetura abrangente de internet energética "cloud-edge-end".
Acrel Co., Ltd. is China Wholesale Medidor de energia em trilho DIN RS485 de acesso direto monofásico AC Manufacturers and Medidor de energia em trilho DIN RS485 de acesso direto monofásico AC Factory. Acrel's integrated product ecosystem spans from cloud platform software to end-user components, covering sectors such as power, renewable energy, data centers, smart buildings, transportation, and smart cities. These solutions enable intelligent, real-time energy management, enhancing energy security and reducing operational costs. We offer Medidor de energia em trilho DIN RS485 de acesso direto monofásico AC for sale.
A unidade de produção da empresa, Jiangsu Acrel Electric Manufacturing Co., Ltd., segue rigorosos padrões de qualidade e diretrizes ambientais, com centros de testes avançados e um compromisso com processos de produção sem chumbo. A equipe de mais de 500 engenheiros da Acrel fornece sistemas de eficiência energética de ponta e soluções de energia inteligentes.
Com uma forte presença nacional, a Acrel está se expandindo ativamente internacionalmente, apoiada por uma rede global de equipes técnicas e de vendas e uma plataforma de comércio eletrônico que garante experiências de serviço perfeitas em todo o mundo. A Acrel tem orgulho de ajudar as empresas a melhorar a eficiência, reduzir o consumo e atingir metas de sustentabilidade.
Juntos, estamos construindo um futuro mais inteligente e mais verde.
Patentes Autorizadas
0+Número de clientes atendidos
0+Total de funcionários
0+Base de Fabricação
0m²O cenário elétrico moderno é uma tapeçaria complexa de sistemas de energia interconectados, predominantemente de corrente alternada (CA) para geração, transmissão e distribuição. No entanto, o aumento das energias renováveis, do armazenamento de energia, dos veículos eléctricos e dos processos in...
Read MoreA rede elétrica moderna é uma obra-prima da engenharia, uma rede vasta e interconectada projetada para fornecer energia das fontes de geração aos usuários finais com notável confiabilidade. No centro deste sistema estão as linhas de transmissão de alta tensão, as artérias musculares que transport...
Read MoreNo domínio da manutenção eléctrica, gestão de energia e fiabilidade do sistema, o papel do analisador de qualidade de energia é indispensável. Esses dispositivos têm sido a base para o diagnóstico de uma ampla gama de problemas elétricos, desde simples flutuações de tensão até eventos tran...
Read More